このページの本文へ
ここから本文
JavaScriptを有効に設定してからご利用ください。
総合サイトマップはこちら
トップページ
アスベスト含有家電製品の取扱いについて
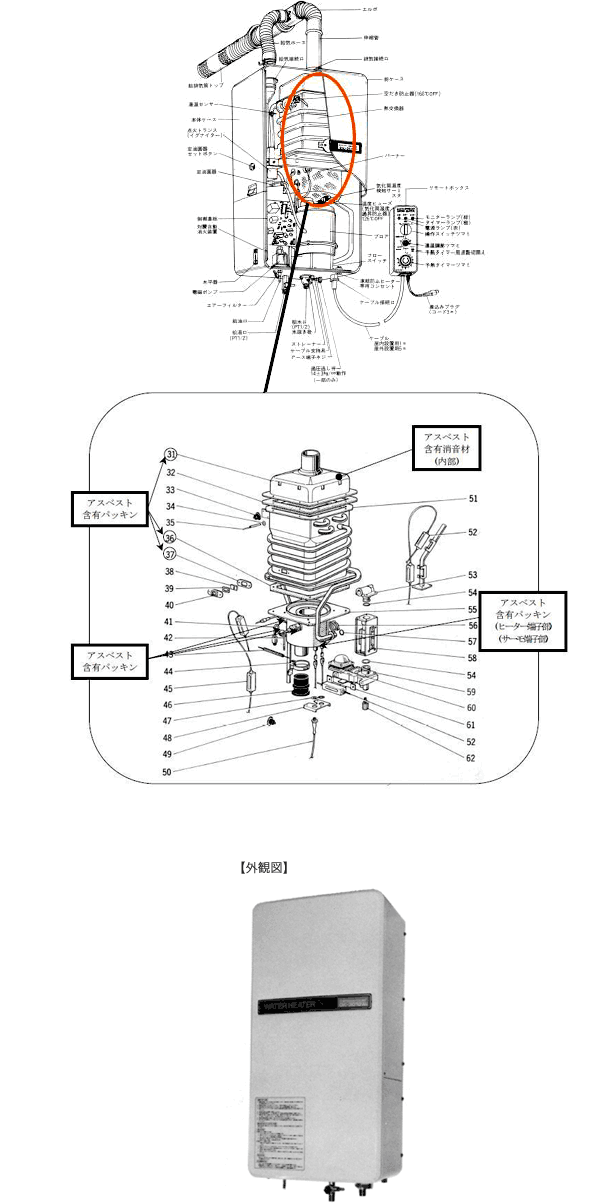
アスベスト含有部品の使用箇所:石油給湯ボイラ
アスベスト含有家電製品の取扱いについて
アスベスト含有部品の
使用箇所
石油給湯ボイラ
型番
1978年~1991年製造の製品全型番
使用箇所
パッキン(図内○印部品)
一覧に戻る